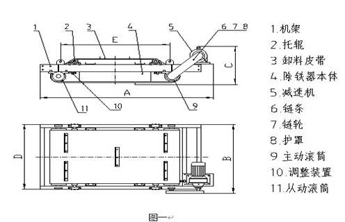
電磁自卸式除鐵器安裝示意圖是什麼樣子的,RCDC係列風冷自卸式電磁除鐵器,是在RCDA係列風冷懸掛式電磁除鐵器的基礎上增加了驅動電機、滾筒、帶dai刮gua板ban的de卸xie鐵tie膠jiao帶dai等deng組zu成cheng的de卸xie鐵tie機ji構gou。在zai工gong作zuo過guo程cheng中zhong卸xie鐵tie機ji構gou自zi動dong將jiang卸xie鐵tie皮pi帶dai上shang吸xi附fu的de鐵tie磁ci性xing物wu質zhi拋pao到dao除chu鐵tie器qi以yi外wai的de集ji鐵tie箱xiang內nei,無wu需xu停ting電dian人ren工gong清qing理li,實shi現xian了le除chu鐵tie自zi動dong化hua。 在鋼鐵廠、水泥廠多用於礦渣除鐵和保護輥壓機、立磨、破碎機等重要設備。
1、用於粒度較小、灰塵大、含鐵量高、連續輸料的生產線上。
2、選用特有溫升控製技術,可以有效控製溫升,延長壽命。
3、采用結構緊湊,易維修,卸鐵皮帶能自動糾偏。
4、采用特有的磁係結構設計,冷卻效果好,溫升低,噪音小。


當顆粒狀物料經過永磁自卸除鐵器的正下方時,混雜在物料中的鐵磁性雜質大約0.1—0.36公gong斤jin被bei吸xi起qi,由you於yu除chu鐵tie器qi上shang的de皮pi帶dai不bu停ting的de運yun轉zhuan,當dang吸xi附fu在zai上shang麵mian的de鐵tie磁ci性xing物wu料liao經jing過guo無wu磁ci區qu時shi,便bian被bei皮pi帶dai上shang的de鐵tie件jian刮gua出chu,扔reng進jin集ji鐵tie箱xiang,從cong而er達da到dao連lian續xu自zi動dong除chu鐵tie的de目mu的de。

